Days
:
Hours
:
Min
:
Sec
enquiries For Inquiries: [email protected]
0
Item(s) in cart
modal

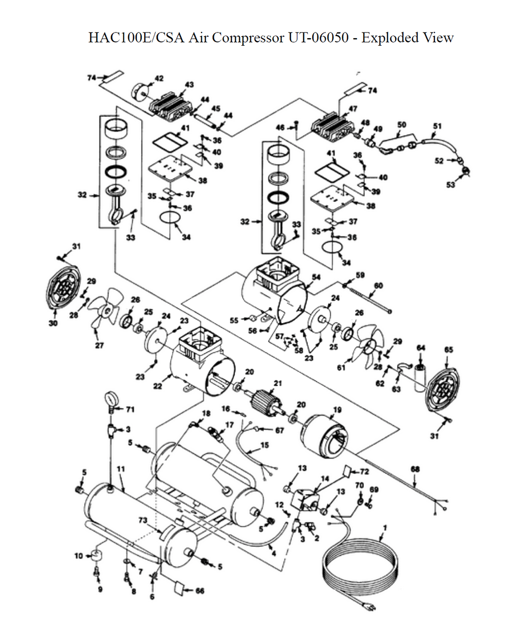
Homelite HAC100E-CSA-(UT-06050)  Replacement Parts  

Model: HAC100E-CSA-(UT-06050)

Brand: Homelite

Download Schematics

Recently Viewed

    Buy Homelite HAC100E-CSA-(UT-06050) Compressor Parts

    Fig-0
    Homelite HAC100E-CSA-(UT-06050) Parts Schematic
    Page-1 Fig-0
    Reference Filter: Filter parts list by name or model number:

    You might be interested in popular Hand Tool categories:

    Homelite HAC100E-CSA-(UT-06050) Replacement Parts List

    Open Modal