Days
:
Hours
:
Min
:
Sec
enquiries For Inquiries: [email protected]
0
Item(s) in cart
modal

Homelite HR80-(UT-06041)  Replacement Parts  

Model: HR80-(UT-06041)

Brand: Homelite

Download Schematics

Recently Viewed

    Buy Homelite HR80-(UT-06041) Miscellaneous Tool Parts

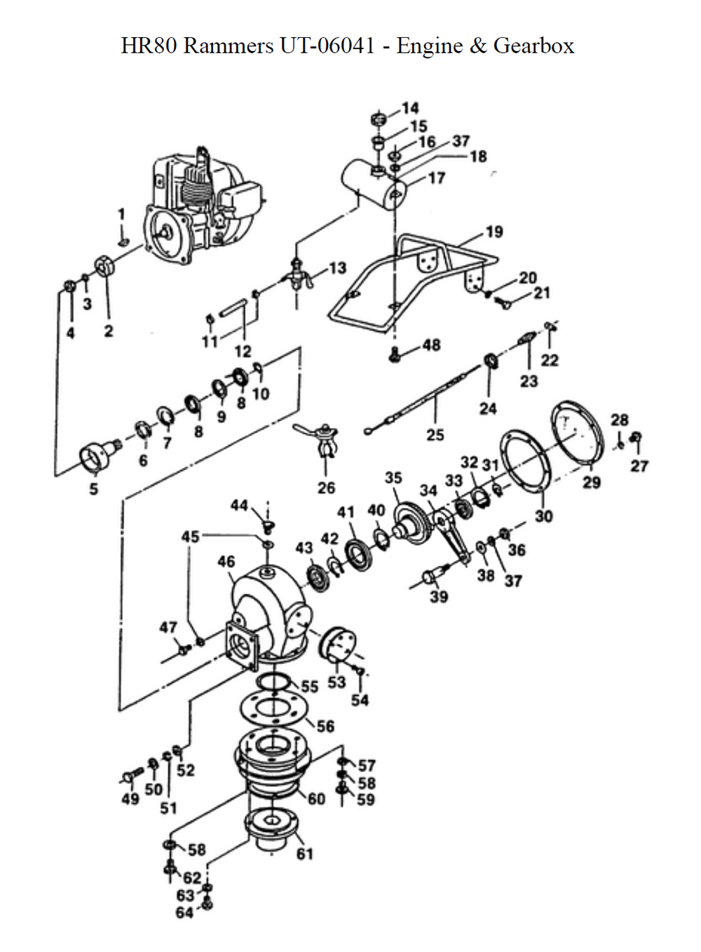
    Fig-0
    Homelite HR80-(UT-06041) Parts Schematic
    Page-1 Fig-0
    HR80-(UT-06041)-homelite-PB-1Break Down Fig-1
    Reference Filter: Filter parts list by name or model number:

    You might be interested in popular Hand Tool categories:

    Homelite HR80-(UT-06041) Replacement Parts List

    Open Modal