enquiries For Inquiries: [email protected]
0
Item(s) in cart
modal

Milwaukee 2838-20-(N55A)  Replacement Parts  

Model: 2838-20-(N55A)

Brand: Milwaukee

Download Schematics

Recently Viewed

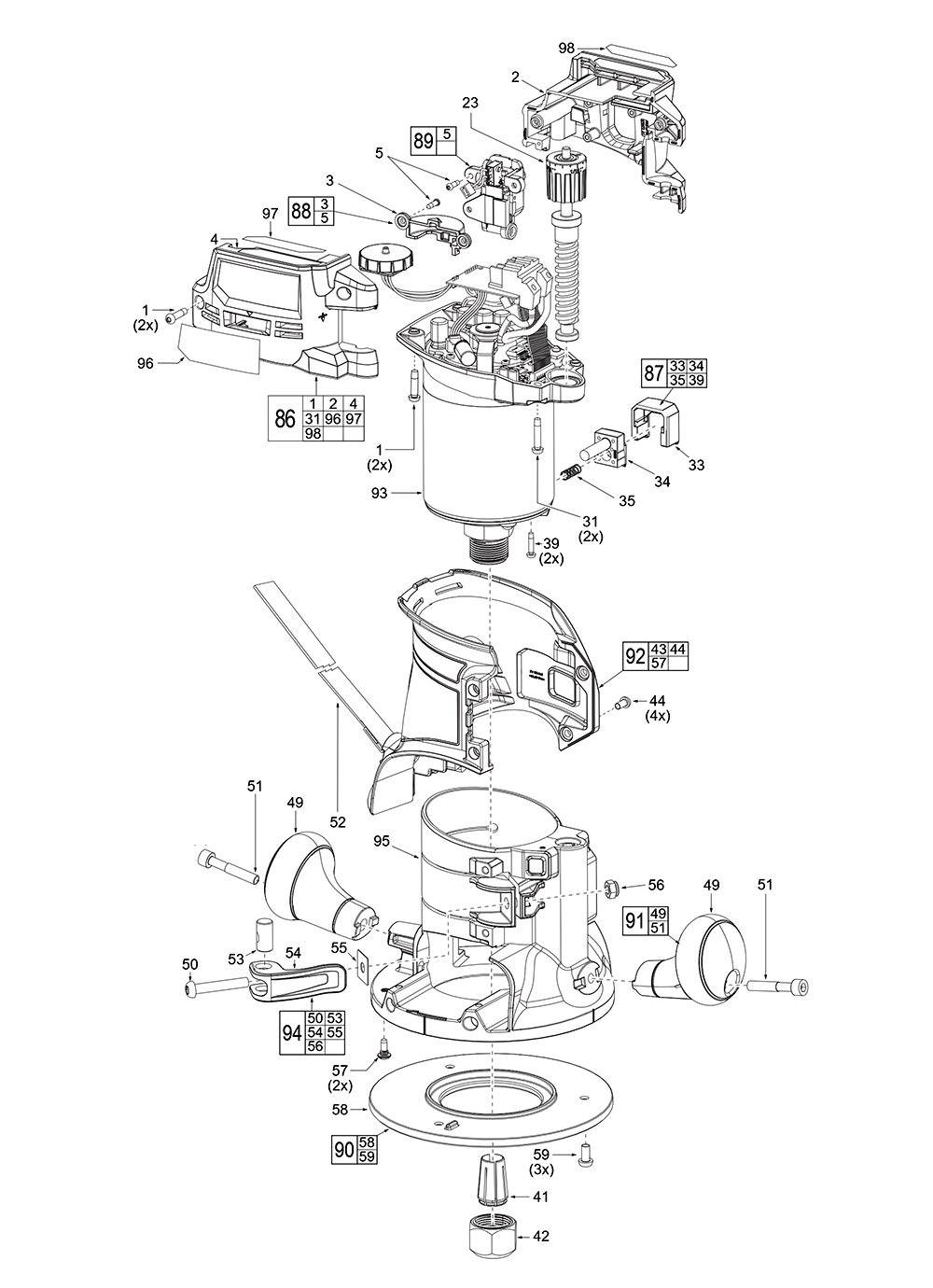
    Buy Milwaukee 2838-20-(N55A) Router Parts

    Fig-0
    Milwaukee 2838-20-(N55A) Parts Schematic
    Page-1 Fig-0
    2838-20-(N55A)-milwaukee-PB-1Break Down Fig-1
    2838-20-(N55A)-milwaukee-PB-2Break Down Fig-2
    2838-20-(N55A)-milwaukee-PB-3Break Down Fig-3
    Reference Filter: Filter parts list by name or model number:

    You might be interested in popular Hand Tool categories:

    Milwaukee 2838-20-(N55A) Replacement Parts List

    Open Modal